Rochester/罗切斯特6400 系列液位计应用场合:
6400 系列液位计,主要用于储灌或容器(IBC) 为化工或石
油化学的产品。6400 系列液位计适用于直径小于 2000mm,压
力小于 30bar,可在-350℉(-212.22℃)环境下适用。
6400 系列液位计安装位置:
①顶部安装
②罐端安装
③罐侧安装
④斜角安装


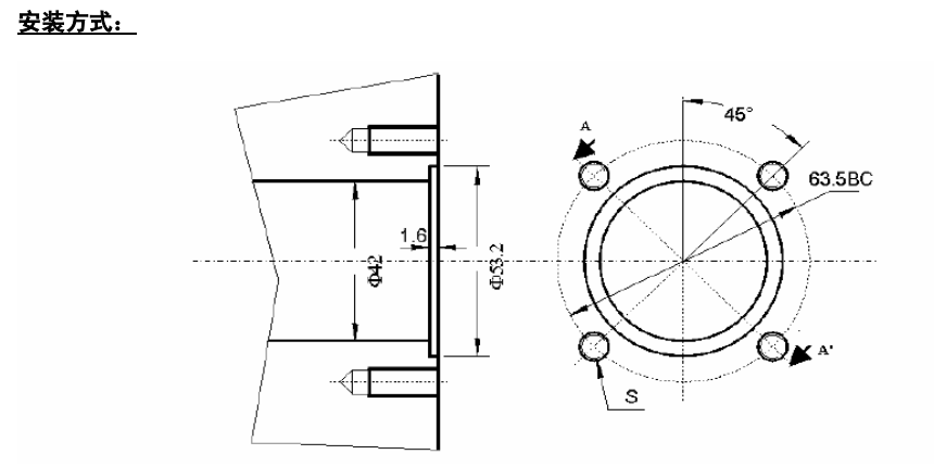
定购信息:
1、 卧式圆柱罐安装说明:
-液位计型号
-液体的密度、罐的设计压力
-工作压力和温度
-安装部位
-垫片与罐壁间的距离
-罐的内径和外径
-端安装须提供罐端的外形尺寸
-斜角安装须提供罐端图纸
2、 直立式圆柱罐安装说明
-与 1 中相同
-罐的圆柱部分尺寸以及端尺寸
-侧面安装须提供安装位置到罐底的距离;顶部安装须提供顶部到中心的中垂线距离。
-储灌容量
-所需测量的位置
3、 非圆柱罐安装说明:
-与 1 中相同
-储灌图纸